This website is being migrated. In case you don't find the information you are looking for, the old website can be found here. Thank you for reporting any anomalies to communication@ill.eu.

Dilution cryostats

Why a dilution cryostat?

At atmospheric pressure liquid helium has a boiling point of 4.2 K (-269 °C). This can be lowered to 1.5 K by applying an underpressure above the liquid. However, to descend below 1 K, we need more complex equipment; the 3He isotope (which is rare and expensive) must be diluted in the common isotope of helium (4He). Enter the "dilution cryostat" (short for "cryostat for the dilution of helium-3 in helium-4").

The dilution technique has enabled scientists to access "very low temperatures".

For a better view of how cold is produced by diluting 3He in 4He, see the animation

The dilution principle
©2004, A. Filhol and Dan Bog

The first dilution cryostats at ILL

The first: The annual reports cite a dilution cryostat built in 1973 [1] by the CNRS/CRTBT for the ILL; this was before the invention of silver powder exchangers [2]. The CNRS's 74/75 annual report mentions the project, without citing names (Gilbert Ardin, Jean Siaud?) but Daniel Thoulouze (CRTBT) remembers:

I helped produce this cooler, but I don't remember the details. It included the high-flow-rate cryostat (a few hundred micromoles), a continuous concentric heat exchanger, and a chassis containing the pump and circulation groups for the 3He and 4He (so that it could be transported with the overhead crane). As we were more interested in refrigeration power of around 100 mK than very low temperatures, a continuous exchanger was sufficient, at least in the beginning.
The design work was done by CRTBT and it was produced by their technicians; the dilution was probably by Jurek.

The cryostat reached 60 mK in 1974 and 55 mK in 1975, with experiments performed on D1B and IN13. We read in a 1976 article [3] that they were able to work at 65 mK for 45 hours.

The death of Gabriel Prati in 1976 in an air crash put a stop to development, until Jean-Louis Ragazzoni (1977) and Peter Suttling (1978) replaced him. The 1977 report notes that their first task was to improve the reliability of the cryostat. It seems that they succeeded, as the 1978 report records that:

Measurements at very low temperature are now, if not easy, at least possible, thanks to the efforts made since 1977.

The second: The annual reports make no mention of an Oxford Instruments dilution cryostat on loan from the UK in 1978 via scientist Paul Hilton, although this is confirmed by J-L Ragazzoni and Reinhard Scherm. A 1980 article [4] talks of a neutron experiment at 20 mK with this cryostat, and the authors (who had been using the CNRS/CRTBT cryostat before) seem amazed at having been able to maintain the temperature for a three-week period. Henri Godfrin, however, says that the cryostat suffered from leaks and faults and Anton Heidemann remembers an experiment on IN13 where it took 6 days to get the temperature down. This is what convinced Karl Neumaier to look for a more efficient solution: the dilution insert.

Result? Until about 1982 there were only a few successful experiments at very low temperatures at ILL. Alain Filhol remembers Dominique Brochier slaving away night and day in an effort to subdue one of the recalcitrant beasts.

Dilution cryostat with rapid sample changing
©1986, A. Benoît and S. Pujol

STBT/CNRS dilution cryostat
©1984, ILL

Xavier Tonon pointing to the orange dilution cryostat's mixing chamber
suitable for most neutron experiments
©2001 ILL, A. Filhol

The TBT made easy

The ILL continued its efforts throughout the eighties on the dilution cryostats at its disposal. The 1983 annual report for example cites successful experiments with the SERC dilution cryostat, reaching 25 mK [5]. This was most probably Paul Hilton's Oxford Instruments cryostat mentioned above.

The eighties were to bring a string of magnificent solutions to the thorny problem of very low temperatures.

1981

1983

  • Alain Benoît (CNRS/CRTBT) and Serge Pujol invent a helium flow dilution cryostat capable of operating in any orientation (D10) or in zero gravity (satellites).

1984

  • Alain Benoît (CNRS/CRTBT) and Serge Pujol (ILL) [7,8] take out a patent for a dilution cryostat for rapid sample changing. Alain Filhol remembers Alain Benoît arriving at D1B with a very compact cryostat, pre-cooled for its arrival on the instrument; to everyone's surprise it reached the temperature required in no time at all. The first cryostat of this type reached 50 mK in just 2.5 hours. Very soon after, an improved version reached 13 mK in 4 hours. By 1985 it had already clocked up 50 hours of neutron experiments and was reaching 10 mK in 5 hours. By 1986 it had had operated for 263 days on 29 instruments and 49 samples, with very few breakdowns! However, this "miracle" dilution cryostat had the disadvantage of being "bottom-loading".

1990 DRILL (Godfrin project, 5 mK)

  • On the basis of technologies developed together with Giorgio Frossati, Henri Godfrin (CNRS/CRTBT) develops DRILL, a "classic" dilution cryostat producing, however, major cooling power.

There seems to have been a drop in the reliability of ILL's classic dilution cryostats for a time, but Jacques Ollivier now confirms that the arrival of people like Xavier Tonon has boosted success rates from 2 experiments out of three to nine out of ten. In the meantime the dilution inserts have proved their worth and are used for most very low temperature experiments with neutrons to a temperature of 50 mK.

The dilution stage of the Diabolo cryostat
the prototype for ESA's Planck satellite cryostat
Ref. [6] page 30

A test crystal
on the cold head of the D10 cryostat
©2001, ILL Alain Filhol

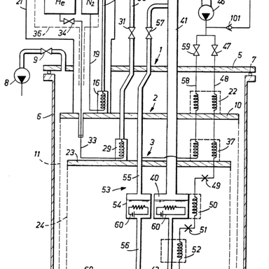
Cold head of the "double still dilution cryostat"
©1984, ILL & CNRS/CRTBT

The DRILL project (3 mK)

with the help of Henri Godfrin.

As we have seen, the ILL's two "classic" dilution cryostats (CRTBT and Air Liquide) were not very satisfactory. There was nevertheless a real need for greater power than that provided by the inserts, zero gravity dilution, etc.

The DRILL cryostat, equipped with a silver powder exchanger invented by Giorgio Frossati [9], was therefore designed in 1988-89 by H. Godfrin (on detachment to ILL from the CNRS) and produced by Christian Gianèse (CNRS-CRTBT), Roger Chung (ILL) and TBT-Air Liquide. The various components were assembled and tested between 1990 and 1992. ILL financed the body of the cryostat and the CNRS the dilution stage. The ILL's Cryogenics Service provided technical support but not the maintenance.
DRILL was a high-power dilution cryostat for experiments with very big cells; it was mainly used for quantum fluids work (3He, 4He, adsorbed helium experiments). This cryostat has also played an important role in thermometry (cerous magnesium nitrate (CMN) and 3He melting curve) as it was used to calibrate the probes for the ILL's other dilution cryostats.

The DRILL dilution cryostat
Christopher Bäuerle during the thermometry tests between 5 mK and 4.2K performed at ILL with Henri Godfrin
©1995, CNRS/CRTBT

The DRILL dilution cryostat
Experiment n° 7-05-25 on D16 in January 1996. Hans and Valeria Lauter, Brad Clemens (theoretician) and a German visitor from Konstanz.
©1996, Henri Godfrin, CNRS/CRTBT

Jean-Paul Gonzalez
working on the DRILL dilution cryostat
©1995, ILL

Maurice de Palma
with the DRILL dilution cryostat
©1997, ILL

References

  1. Dilution cryostat technology was in its infancy. The first device built in France dates back to 1966 (CNRS/CRTBT and CEA/SBT). Gilbert Bon Mardion says that this was not published, as it "did no better" than its American predecessor. In fact he did but this was hidden by the use of an inadequate measurement technique. 
    Oxford Instruments also started developing dilution cryostats in 1966.
  2. Frossati G. Godfrin H. Hebral B. Schumacher G., Thoulouze D. (1978) in "Physics at Ultra Low Temperatures - Proc. ULT Hakoné Symposium", Physical Society of Japan, p 205 (1978)
  3. Stirling W G, Scherm R, Hilton P A and Cowley R A 1976 J Phys C: Solid St. Phys. 9 1643-63.
    "The cryostat had a liquid nitrogen bath and a liquid 4He bath which was pumped down to a temperature of 2.5 K. Below the liquid 4He bath was mounted a 3He bath using a Joule-Thomson cycle for cooling which could be pumped to give any temperature between 3 K and 0.63 K. With this system continuous operation of the cryostat was possible for periods in excess of 45 h, with a temperature stability estimated to be ±0.05 K."
  4. Hilton P.A., Cowley R.A., Scherm R., Stirling W.G. "Lifetime of zero sound in liquid 3He", Journal of Physics C 13, L295-L299 (1980)
    "The cryostat was an Oxford Instruments dilution refrigerator which kept the 3He sample below 0.02 K for three weeks without difficulty. The cryostat had the additional advantage over the one used earlier of having a sample chamber of larger diameter, so that the specimen cassette could be made longer: 15 cm."
  5. S.E.R.C.: Science and Engineering Research Council, UK.
  6. K.Neumaier, Rev. Phys. Appl. 19, 9 (1984).
    K.Neumaier, A.Heidemann, A.Magerl, Rev. Phys. Appl. 19, 773 (1984)
  7. A. Benoît, S. Pujol, "Cryostat à dilution", (1984), patent EP0188976 A1.
  8. S. Pujol, "Etude et réalisation de réfrigérateurs à dilution en cycle ouvert", Diplôme supérieur de recherche (DSR), univ. Grenoble I, 1 juin 1994
  9. Frossati G, Godfrin H, Hebral B, Schumacher G and Thoulouze D, "Conventional cycle dilution refrigeration down to 2.0 mK", Physics at Ultralow Temperatures: Proc. Hakone Int. Symp. (Tokyo: Physical Society of Japan) p 205 (1977).